G.C. Number 47 311 12
Front panel removal
Remove Front Panel (1) by lifting upwards and pulling forwards.
Inner casing cover (combustion chamber)
Unscrew the four screws (2) securing the cover to the casing and lift off.
Facia panel
Unscrew the two upper screws (3) and lower the Facia taking care not to damage the Pressure Gauge capillary tube or electrical connections.
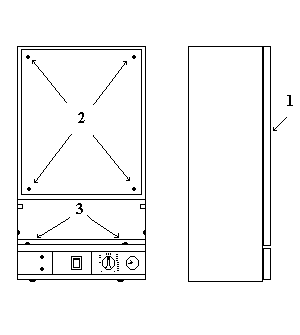
Front panel removal
Remove Front Panel (1) by lifting upwards and pulling forwards.
Inner casing cover (combustion chamber)
Unscrew the four screws (2) securing the cover to the casing and lift off.
Facia panel
Unscrew the two upper screws (3) and lower the Facia taking care not to damage the Pressure Gauge capillary tube or electrical connections.
Isolate as per TOPs P4
and refit as necessary